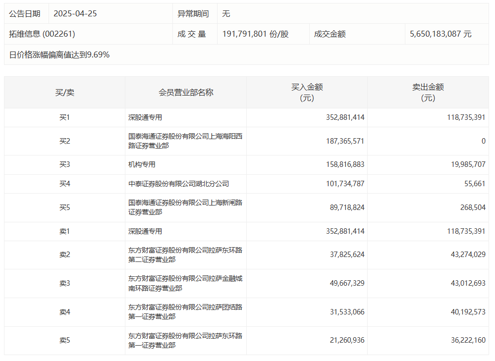
拓维信息今日涨停,成交额56.50亿元,换手率16.82%。盘后龙虎榜数据显示,深股通专用席位买入3.53亿元并卖出1.19亿元,1家机构专用席位净买入1.39亿元。
易策略股票配资提示:文章来自网络,不代表本站观点。
本文评分*
评论内容*
你的昵称*
你的邮箱*